DL-Fettpumpe PREMIUM GREASE PUMP
Pneumatische Kolbenpumpe zur Fettverteilung.
Details
- Verschiedene Verdichterverhältnisse, je nach Viskosität mit hoher Förderleistung
- Geeignet für 50-60 kg bzw. 180-220 kg Fässer
Technische Daten
- Dichtungen: PU
- Kompatible Fluide: Mittel- bis hochviskose Schmierfette
- Obergehäuse Ansaugstutzen: Aluminium
- Ansaugstutzen: Kohlenstoffstahl
- Luftzufuhr-Anschluss: IG 1/4Zoll
- Fluidaustritt-Anschluss: IG 3/8Zoll
- Betriebsdruck: 6 – 8bar
- Durchschnittlicher Luftverbrauch: 330l/min
- Geräuschpegel: 81dB(A)
- Geeignet für: Fässer 50-60kg
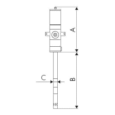
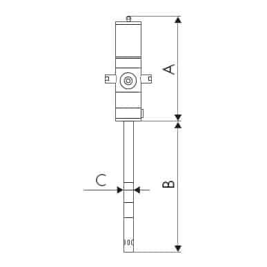
- Abmessungen (AxBxC): 265x740x30mm
- Gewicht: 6.1kg
- Max. Versorgungsdruck: 8bar





